Nächste Seite:Arbeitstechnik unter Normaldruck Aufwärts:
Einfache Destillation Vorherige Seite:Einfache Destillation Inhalt
Die Destillation ist die wichtigste Trenn- und Reinigungsmethode für flüssige Substanzen. Im einfachsten Fall der Destillation wird eine Flüssigkeit durch Wärmezufuhr zum Sieden erhitzt und der entstandene Dampf in einem Kühler als Destillat kondensiert. Da sich hier nur eine Phase bewegt, nämlich der Dampf, spricht man hier von einer Gleichstromdestillation. Wenn dagegen ein Teil des kondensierten Dampfs (der sogenannte Rücklauf) dem auf steigenden Dampf entgegenläuft und dem Destillationskolben ständig wieder zugeführt wird, haben wir es mit einer Gegenstromdestillation zu tun. Die Gegenstromdestillation oder Rektifikation wird in Destillationskolonnen durchgeführt. Über allen Flüssigkeiten bildet sich durch Verdunstung ein Flüssigkeits-Dampf-Gleichgewicht, und damit ein entsprechender Dampfdruck aus. Die Größe des Dampfdrucks ist abhängig von der Art der Flüssigkeit und von der Temperatur. Mit steigender Temperatur steigt der Dampfdruck einer Flüssigkeit stark an. Der Siedepunkt einer Flüssigkeit ist dann erreicht. wenn der Dampfdruck der Flüssigkeit gleich dem äußeren Druck ist. Die Abhängigkeit von Druck und Temperatur wird durch die Dampfdruckkurve ausgedrückt. Jede Flüssigkeit, die sich nicht zersetzt, bevor ihr Dampfdruck 760 Torr erreicht, hat ihren eigenen charakteristischen Siedepunkt unter Normaldruck (760 Torr).
|
Wie aus Abb.
ersichtlich ist, sinkt der Siedepunkt einer Flüssigkeit um ca. 15
C, wenn sich der äußere Druck jeweils um
die Hälfte verringert. Eine Druckerniedrigung von 760 auf 20 Torr ergibt bei normal hochsiedenen Substanzen eine Siedepunktserniedrigung von ca. l00
C. Wegen dieser starken Druckabhängigkeit des Siedepunktes muß neben der
Siedetemperatur stets auch der dazugehörige Druck angegeben werden. Ist kein Druck angegeben, bedeutet dies, daß der Normaldruck von 760 Torr gemeint ist. Zweckmäßig führt man Destillationen bei Siedetemperaturen zwischen 40 und 150
C aus, da sich oberhalb 150
C viele Substanzen bereits merklich zersetzen, während eine Flüssigkeit mit einem Siedepunkt unter etwa 40
C in einer gewöhnlichen Apparatur nicht mehr ohne Verluste destilliert werden kann. Siedet ein Stoff bei Normaldruck oberhalb 150
C, destilliert man ihn daher im Vakuum. In den meisten Fällen ist das Vakuum einer
Wasserstrahlpumpe (ca. 10 - 15 Torr) oder einer Drehschieberpumpe (0,01 - 1 Torr) ausreichend.
|
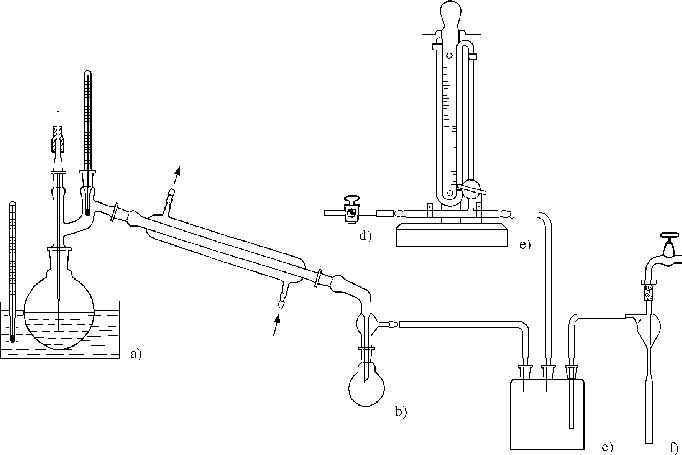
Für Destillationen mit einem Kp zwischen 40 und 150
C dient eine Apparatur entsprechend Abbildung
. Hierbei wird mit
Hilfe einer Wärmequelle im Kolben Flüssigkeit verdampft. Der Dampf steigt in den Destillationsaufsatz und umspült dort die Thermometerkugel, so daß die Dampftemperatur am Thermometer verfolgt werden kann. Danach gelangt der Dampf sofort
in den Kühler, wo er kondensiert wird. Das Kondensat fließt über den Vorstoß in die Vorlage. Es ist darauf zu achten, daß
die Quecksilberkugel des Thermometers so weit in den Destillationsaufsatz hineinragt, daß sie vollständig durch den in den Kühler fließenden Dampf benetzt wird. Ansonsten ist das Thermometer auszuwechseln. Die meisten Flüssigkeiten neigen zu
Überhitzungen, d.h. sie werden erst mehr oder weniger über den eigentlichen Siedepunkt erhitzt. ehe sie dann stoßweise heftig zu sieden beginnen. Diese metastabilen Zustände, die zu Siedeverzügen führen, werden beseitigt, indem man in den
Kolben einige Siedesteinchen gibt, oder mit Hilfe eines Magnetrührers die Flüssigkeit gut durchmischt. Bei Destillationen mit hochsiedenen Flüssigkeiten ist die Apparatur wegen der hohen Wärmeabstrahlung zu isolieren. Hierzu wird vor der
Destillation um den Destillationskolben und dem Claisenanschütz Aluminiumfolie eng angelegt um somit Wärmeverluste zu verhindern.
|
Abbildung
zeigt die Gesamtansicht einer einfachen Vakuumdestillation. Bei Destillationen im Vakuum werden die
Siedeverzüge durch eine Siedekapillare oder durch intensives Rühren mit einen Magnetrührer unterbunden. Die Destillationsapparatur entspricht weitgehend der bei Normaldruck verwendeten Apparatur (Abb.
). Zusätzlich wird mit
Vakuumschlauch ein Quecksilbermanometer über die Sicherheitsflasche (Woulffsche Flasche) an einer Wasserstrahlpumpe (10 - 15 Torr) oder Drehschieberpumpe (0,01 - 1 Torr) angeschlossen.
Kai Jung
2000-11-16


An dieser Seite waren u.a. folgende Programme beteiligt: